- 液位儀表系列
- 流量儀表系列
- 物位儀表系列
- 壓力/液位/差壓/密度變送器
- 液位/溫度/壓力/流量-報警儀
- PLC/DCS自動化控制監控系統
- GPRS無線遠傳裝置
- 物位儀表系列
- 有紙/無紙記錄儀系列
- 溫度儀表系列
- 分析儀|檢測儀|校驗儀系列
全國銷售熱線:400-9280-163
電話:86 0517-86917118
傳真:86 0517-86899586
銷售經理:1560-1403-222 (丁經理)
??? ? ? ? 139-1518-1149 (袁經理)
業務QQ:2942808253 / 762657048
網址:http://www.tiansocks.com
電話:86 0517-86917118
傳真:86 0517-86899586
銷售經理:1560-1403-222 (丁經理)
??? ? ? ? 139-1518-1149 (袁經理)
業務QQ:2942808253 / 762657048
網址:http://www.tiansocks.com
一種防氣化抽真空磁翻板液位計的發明思路及具體實施方案
發表時間:2019-09-30 ??點擊次數:699? 技術支持:1560-1403-222
背景技術
液氨和液化氣液位測量常使用磁翻板液位計進行測量,但由于四季溫差較大,特別是夏天溫度較高時,液氨和液化氣隨溫度升高氣化現象非常普遍,氣化的氣泡會隨著磁翻板液位計的下接管進入液位計浮球測量腔室,氣泡上升會造成磁浮球出現驟升驟降的情況,由于與其磁耦合原理發生翻轉的磁翻珠不能及時有效的翻轉會造成液位計顯示磁翻珠轉錯亂的情況,嚴重影響了液位觀察,此種情況下只有維護人員用磁鐵在磁翻板面板外部將錯亂的磁翻珠翻轉正常才能再次使用,但磁翻珠位計一般長度較長,且液位計氣化時間點不確定,所以為使用維護帶來了非常多的麻煩。
發明內容
本新型磁翻板液位計所要解決的技術問題是提供一種在液氨、液化氣等易揮發的氣體液位測量時,能有效的解決虛假液位顯示,磁翻板翻轉更靈活,夜視距離更遠,磁翻板更耐酸氣腐蝕,使用壽命更長,磁浮球磁力穿透性更強,增加氣泡消除器,zui大限度的消除了儲罐內的氣泡對磁浮球的影響,減少了操作者的日常維護工作量有效減少了故障發生率,液位顯示清晰準確的一種防氣化抽真空磁翻板液位計。
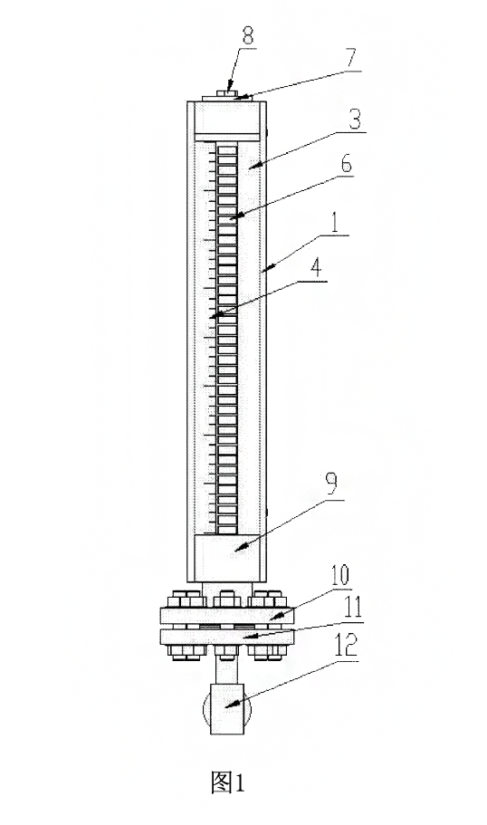
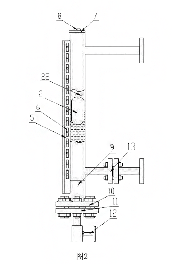
為解決上述技術問題,包括液位計主體和磁浮球,液位計主體為內部設有磁浮球通道的圓柱體,磁浮球安裝在液位計主體的磁浮球通道內,液位計主體上通過卡箍固定安裝有顯示面板,顯示面板上設有顯示刻度,顯示面板中間開設有安裝顯示槽,安裝顯示槽內安裝有機玻璃管,有機玻璃管內安裝有若干個磁翻板,磁翻板表面貼有熒光片,液位計主體頂部設有上封頭,上封頭上安裝有用于放氣的上螺栓,液位計主體底部安裝有氣泡消除器,氣泡消除器下側固定安裝有連接法蘭,連接法蘭通過緊固螺栓固定安裝有排污法蘭,排污法蘭下側固定連接有排污閥門,液位計主體的一側安裝有兩個過程法蘭。
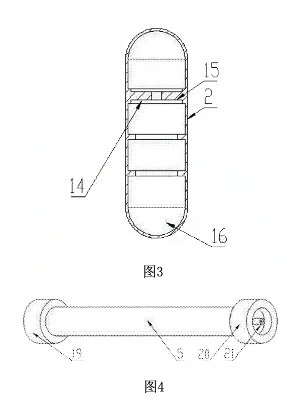
磁浮球呈膠囊狀且內部設有空腔,磁浮球一端開口,磁浮球的空腔內安裝有兩個加強支撐環,兩加強支撐環之間安裝有環形**強磁鋼塊,磁浮球開口端焊接有封堵頭。氣泡消除器與磁浮球通道連通的一端安裝有濾網,濾網上設有不規則形狀的碎泡口,有機玻璃管一端安裝有密封的堵頭,另一端安裝有單向閥堵頭,單向閥堵頭上安裝用于將有機玻璃管內氣體抽出的單向閥作為優選的技術方案,液位計主體內磁浮球通道的直徑比磁浮球的外直徑大-mm。
采用上述技術方案后,包括液位計主體和磁浮球,液位計主體為內部設有磁浮球通道的圓柱體,磁浮球安裝在液位計主體的磁浮球通道內,液位計主體上通過卡箍固定安裝有顯示面板,顯示面板上設有顯示刻度,顯示面板中間開設有安裝顯示槽,安裝顯示糟內安裝有機玻璃管,有機玻璃管內安裝有若干個磁翻板,磁翻板表面貼有熒光片,液位計主體頂部設有上封頭,上封頭上安裝有用于放氣的上螺栓,液位計主體底部安裝有氣泡消除器,氣泡消除器下側固定安裝有連接法蘭,連接法蘭通過緊固螺栓固定安裝有排污法蘭,排污法蘭下側固定連接有排污閥門,液位計主體的一側安裝有兩個過程法蘭,夏天溫度較高時容易發生氣化影響磁翻板液位計正常測量,氣泡消除器將氣泡打碎,氣泡不能將磁浮球推起,磁翻板誤翻幾率減小,減少了維護量,有機玻璃管中抽真空后,磁翻板不易發生腐蝕,有效延長了使用時間,并且磁翻板有效的增大了觀測面積。
附圖說明
以下附圖僅旨在于對本新型做示意性說明和解釋,并不限定本新型的范圍。其中圖是本新型磁翻板液位計實施例的結構示意圖

圖是圖的右視圖

圖是本新型實施例中磁浮球的結構示意圖

圖是本新型實施例中氣泡消除器的結構示意圖

圖是本新型實施例中有機玻璃管的結構示意圖
具體實施方式
下面結合附圖和實施例,進一步闡述本防氣化抽真空磁翻板液位計。在下面的詳細描述中,只通過說明的方式描述了本新型的某些示范性實施例。毋庸置疑,本領域的普通技術人員可以認識到,可以用各種不同的方式對所描述的實施例進行修正。
參照附圖,一種防氣化抽真空磁翻板液位計,包括液位計主體和磁浮球,液位計主體為內部設有磁浮球通道的圓柱體,磁浮球安裝在液位計主體的磁浮球通道內,液位計主體上通過卡箍固定安裝有顯示面板,顯示面板上設有顯示刻度,顯示面板中間開設有安裝顯示槽,安裝顯示槽內安裝有機玻璃管,有機玻璃管內安裝有若干個磁翻板,磁翻板表面貼有熒光片,顯示更直觀醒目,特別適合夜視觀測液位,液位計主體頂部設有上封頭,上封頭上安裝有用于放氣的上螺栓,液位計主體底部安裝有氣泡消除器,氣泡消除器下側固定安裝有連接法蘭,連接法蘭通過緊固螺栓固定安裝有排污法蘭,排污法蘭下側固定連接有排污閥門,液位計主體的一側安裝有兩個過程法蘭。
磁浮球呈膠囊狀且內部設有空腔,磁浮球一端開口,磁浮球的空腔內安裝有兩個加強支撐環,兩加強支撐環之間安裝有環形**強磁鋼塊,磁浮球開口端焊接有封堵頭,磁浮球質量較輕,可以在液位計主體的磁浮球通道中浮起,兩個加強支撐環一方面可以保證磁浮球不會在受到較大壓力時發生形變,另方面可以固定環形**強磁鋼塊,環形**強磁鋼塊增大了磁浮球與磁翻板的磁耦合強度,使環形**強磁鋼塊在磁浮球內更加穩定,焊接的封堵頭有效保證磁浮球內部不會進入液體,增長了使用壽命。
氣泡消除器與磁浮球通道連通的一端安裝有濾網,濾網上設有不規則形狀的碎泡口,碎泡口將氣泡打碎,氣泡不能將磁浮球推起,磁翻板誤翻幾率減小,減少了維護量。
有機玻璃管一端安裝有密封的堵頭,另一端安裝有單向閥堵頭,單向閥堵頭上安裝用于將有機玻璃管內氣體抽出的單向閥,密閉有機玻璃管并對其進行抽真空處理,可有效提高其抗震性能和耐腐蝕性,延長其使用壽命,可有效防止磁翻板老化,也能提高磁翻板轉穩定性,減少磁翻板的摩擦力,減少誤翻轉的幾率。液位計主體內磁浮球通道的直徑比磁浮球的外直徑大-m,磁浮球與磁浮球通道之間的間距增大,增大氣泡通過磁浮球間隙的距離,能有防止磁浮球被氣泡帶動造成驟升。
本防氣化抽真空磁翻板液位計使用方法
在使用本磁翻板液位計時,根據浮力原理和磁性耦合作用原理,當本新型通過兩個過程法蘭與被測容器中連通,被測容器的液位升降時,液位計主體磁浮球通道內中的磁浮球也隨之升降,當氣化產生氣體在磁浮球通道內積累過多影響液位位置時,可打開上封頭上的上螺栓放出多余氣體,有機玻璃管內安裝有若干個磁翻板,磁翻板表面貼有熒光片,當磁浮球經過時,磁翻板翻轉,熒光片顯示至磁浮球所在位置,顯示更直觀醒目,氣泡消除器與磁浮球通道連通的一端安裝有濾網,濾網上設有不規則形狀的碎泡口,碎泡口將氣泡打碎,氣泡不能將磁浮球推起,磁翻板誤翻幾率減小,減少了維護量。以上顯示和描述了本防氣化抽真空磁翻板液位計的基本原理、主要特征及本新型的優點。
上一條:磁翻板液位計應用于蒸汽鍋爐中液位測量的問題及解決方案
下一條:電磁流量計的空管檢測電路是基于怎樣的原理及其產生的作用
- 相關文章
-
- 80G 高頻雷達物位計液位計適用于泡沫和攪拌工況的原因分析 【2025-08-06】
- 80G高頻雷達液位計防腐防爆耐高溫的功能是如何實現的? 【2025-07-23】
- 高頻雷達液位計在石油行業液位測量應用中的優勢有哪些 【2025-07-17】
- 雷達液位計測量時如何有效規避攪拌葉片和泡沫的干擾? 【2025-07-07】
- 氧化鋁行業中電磁流量計的實際應用案例分析 【2015-10-24】
- 法蘭式液位變送器安裝方法 【2024-01-08】
- 液位變送器的調試是什么 【2024-01-06】
- 桿式液位變送器價格 【2024-01-04】
- 壓力變送器的電氣符號 【2023-12-18】
- 靜壓式液位變送器批發 【2023-12-19】








